行业知识

阀门怎样进行强度试验和严密性试验?

2024-07-19 10:22:46 科威

阀门怎样进行强度试验和严密性试验?

阀门的强度试验和严密性试验一般在如图1所示的阀门水压试验台上进行。

图片关键词

图1  阀门水压试验台

1一排气孔(φ2~φ3mm) 2一垫片


试验时,压力应逐渐升高至试验压力,在规定的持续时间内,压力应保持不变,无泄漏现象为合格。试压持续时间按表1规定。

图片关键词

(1)强度试验

阀门强度试验如图2所示。试验前,应先将阀腔内的空气排净。试验时将关闭件稍微开启,并将阀门通路一端堵严,水从另一端引人。试验带有旁通管的阀门时,旁通阀应打开。阀门强度试验时的试验压力应符合管道及附件试验压力的有关规定。蒸汽和非腐蚀性气体用的闸阀,其阀门闸板应在装配前单独进行试验。

图片关键词

图2  阀门强度试验


(2)严密性试验

水、蒸汽及压缩空气用阀门,以水为试验介质进行严密性试验;氨系统用各种阀门,应以压缩空气为介质进行严密性试验。严密性试验的试验压力为阀件的公称压力。阀门严密性试验如图3所示。试验时,应关闭阀门,介质由通路一端引人,在另一端检查其严密性(见图3a)。如果是闸阀,则两端均应分别做上述实验,或者采用图3b所示的方法,这样只需做一次实验。阀体及阀杆的接合面以及填料部分的严密性试验,应在关闭件开启、通路封闭的情况下进行(见图2)。

图片关键词

图3  阀门严密性试验


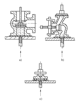
密封圈固定处的严密性试验可按图4所示的方法进行。

图片关键词

图4  阀门密封圈的严密性试验

a)闸阀阀座 b)截止阀阀座 c)关闭件

TAG: 阀门
首页
产品
新闻
联系